Abrazadera para tuberías en PVC-U

Disegno quotato - ZIKM

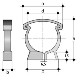
d a b h I
16 26 18 33 16
20 33 14 38 20
25 41 14 44 25
32 49 15 51 32
40 58 16 60 40
50 68 17 71 60
63 83 18 84 63
75 96 19 97 75
90 113 20 113 90
110 139 23 134 125
125 158 25 151 140
140 177 27 167 155
160 210 30 190 180
180 237 33 211 200

[ Inicio ]

 

Teléfono: +34 943 673 630

Fax: +34 943 675 174

E-mail:  info@plastikalia.com

Español | English | Français